MIDI to CV (1)

まだ十分な成果が得られているとは言い難いのですが、MIDI to CV コンバータ + VCO や、MIDI to CV コンバータ + VCF の実験を紹介しておきます。
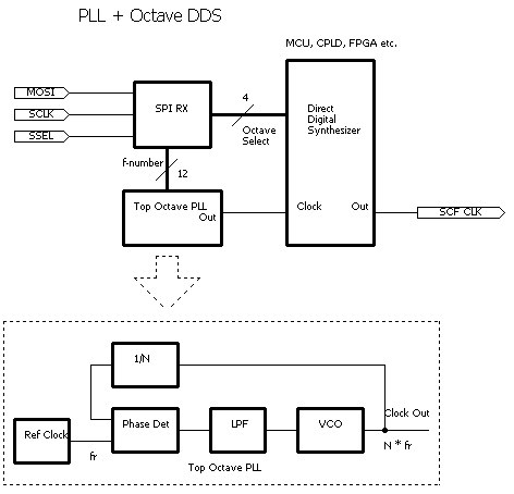
説明は次回以降に回して、ここでは、ブロックダイアグラムや回路図へのリンクだけを示しておきます。

  • VCO 部のブロックダイアグラム
  • VCO 部の回路図
  • SCF-VCF クロック生成部のブロックダイアグラム
  • SCF クロック生成部の回路図
  • SCF-VCF 部の回路図